请输入您要查询的字词:

 

单词 Hartley oscillator
释义
Hartley oscillator

Electronics and Electrical Engineering
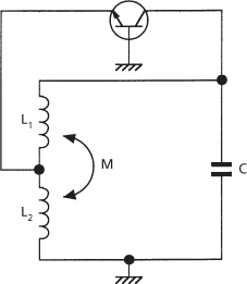
  • A type of oscillator consisting of a transistor with common-emitter connection and a parallel resonant circuit between the emitter and collector (see diagram). Ignoring the resistance of the coil the resonant frequency, ω0, is given by

    ω02C(L1+L2+2M)

    Hartley oscillators may also be crystal-controlled (see piezoelectric oscillator, Fig. d).

    Hartley oscillator

    Hartley oscillator


随便看

 

科学参考收录了60776条科技类词条,基本涵盖了常见科技类参考文献及英语词汇的翻译,是科学学习和研究的有利工具。

 

Copyright © 2000-2023 Sciref.net All Rights Reserved
京ICP备2021023879号 更新时间:2025/12/17 14:22:50